服务热线
180-5003-0233

本实用新型涉及锂离子电池制造技术领域,具体涉及一种锂离子电池隔膜蘑菇视频无限观看国产甜美传媒。
背景技术:
锂离子电池隔膜是锂离子电池中的主要组件,其主要作用是使电池的正、负极分隔开来,防止两极接触而短路,此外还具有能使电解质离子通过的功能。锂离子电池隔膜的生产厂家生产的隔膜为母卷,但母卷的宽度一般不能直接 应用于锂电池的生产,需按照所需尺寸进行分切后才可应用到锂离子电池的生产中。
锂离子电池隔膜蘑菇视频无限观看国产甜美传媒是在锂电池成人APP蘑菇下载隔膜生产过程中的关键设备之一,其工作方式是用直立刀片把具有一定宽度的隔膜切成数条尺寸较窄的隔膜所用的装置。
较大的隔膜蘑菇视频无限观看国产甜美传媒体积大、成本高,主要用于隔膜的批量生产中,但在锂离子电池的研发阶段及小批量生产试用时,所需隔膜数量并不是特别大,用大规模的蘑菇视频无限观看国产甜美传媒反而不便于需求,且需调机,操作不便,而人工分切效率低、精度达不到所需要求,且操作不当容易受伤;此外,分切时隔膜的横向强度不能太大,加大了分切难度。
技术实现要素:
针对现有技术中的缺陷,本实用新型提供一种锂离子电池隔膜蘑菇视频无限观看国产甜美传媒,结构简单,使用方便,且分切效率及分切精度较高,能够满足锂离子电池小批量生产中对电池隔膜的需求。
本实用新型提供了一种锂离子电池隔膜蘑菇视频无限观看国产甜美传媒,包括机架、电机、同步带和分切装置;所述机架包括支撑架、辊架和分切台;所述支撑架上设有所述分切台,所述辊架包括第一辊架、第二辊架和第三辊架;所述分切台一端设有第一辊架,另一端设有第二辊架和第三辊架;所述第一辊架上部设有放卷辊,所述第一辊架下部设有第一定位辊,所述第一定位辊顶部与所述分切台的台面位于同一高度;所述第二辊架和所述第一辊架于所述分切台同侧设置,所述第二辊架上设有第二定位辊和成品辊,所述第二定位辊与所述分切台的台面位于同一高度,所述成品辊位于所述第二定位辊下方;所述第三辊架与所述第二辊架于所述分切台的横向中心线对称设置,所述第三辊架上设有余料辊;所述电机位于所述第一辊架外侧且与所述第一定位辊对应设置,所述同步带连接所述第一定位辊和第二定位辊;所述分切台上设有所述分切装置,所述分切装置包括竖板、螺纹轴、滑块、刀片、限位杆和横板;所述竖板有两块且分别于所述分切台的横向中心线两侧对称设置,所述竖板固定设置在所述分切台上,所述螺纹轴安装在两所述竖板上且与所述分切台平行设置,所述螺纹轴上安装有滑块,所述滑块设有与所述螺纹轴配合的螺纹,所述滑块下部设有刀片,所述滑块上部固定设有限位杆,所述横板设置于两所述竖板顶部,所述横板上设有供所述限位杆滑动的限位长槽。
作为一种优选的技术方案,所述分切台上设有凹槽滑道。
作为一种优选的技术方案,两所述定位辊与所述辊架安装处分别设有轴承。
作为一种优选的技术方案,所述螺纹轴与所述竖板安装处设有轴承。
作为一种优选的技术方案,所述滑块上开设有一螺纹孔且安装有与所述螺纹孔配合的紧固螺栓。
作为一种优选的技术方案,所述螺纹轴的一端设有转动把手。
作为一种优选的技术方案,所述限位杆上设有刻度指针。
作为一种优选的技术方案,所述横板上方设有与所述刻度指针对应的刻度线。
作为一种优选的技术方案,所述第一辊架上设有与所述同步带配合的张紧轮。
作为一种优选的技术方案,所述成品辊与所述余料辊的中心线有高度差。
由于采用以上技术方案,本实用新型具有以下有益效果:
一种锂离子电池隔膜蘑菇视频无限观看国产甜美传媒,包括机架、电机、同步带和分切装置;机架包括支撑架、辊架和分切台;支撑架上设有分切台,辊架包括第一辊架、第二辊架和第三辊架;分切台一端设有第一辊架,另一端第二辊架和第三辊架;第一辊架上部设有放卷辊,下部设有第一定位辊;第二辊架上设有第二定位辊和成品辊;第三辊架上设有余料辊;电机位于第一辊架外侧且与第一定位辊对应设置,第一辊架下方设有张紧轮,同步带连接第一定位辊、张紧轮和第二定位辊;分切台上设有分切装置,分切装置包括竖板、螺纹轴、滑块、刀片、限位杆和横板;竖板固定设置在分切台上,螺纹轴安装在竖板上且与分切台平行设置,螺纹轴上安装有滑块,滑块下部设有刀片,滑块上部固定设有限位杆,横板设置于两所述竖板顶部,横板上设有供限位杆滑动的限位长槽;基于以上改进,设有的定位辊可将放置到放卷辊上的隔膜母卷通过摩擦转动将隔膜输送到分切台上,利用分切台上的分切装置进行所需尺寸的分切,由于隔膜在分切台的托撑下进行切割,减小了产生的横向力,使得切割的隔膜不致因切割力产生破裂造成损坏,分切台首尾两端均设有定位辊,使得隔膜输送得到双重保障,更有利于对隔膜进行分切;分切后的隔膜于分切台末端分别用成品辊和余料分卷,便于使用;定位辊利用电机带动,可实现分切速度的调节,同时,利用同步带连接两定位辊使得两定位辊的转速相同,为隔膜输送提供了便利;分切装置采用螺纹轴与滑块连接的结构,可通过转动螺纹轴实现滑块来回的移动,从而进行尺寸的调整,滑块下固定刀片对隔膜进行分切,结构简单,操作方便,利用横杆上的限位孔对滑块限位滑动,使得隔膜的分切精度更高。
本实用新型中,分切台上设有凹槽滑道。基于以上改进,设有的凹槽滑道可对隔膜进行限位,避免了隔膜在分切台上的滑动与折皱,使得分切精度更高。
本实用新型中,两定位辊与螺纹轴的安装处均设有轴承。基于以上改进,设有的轴承可减小定位辊和螺纹轴安装处产生的摩擦阻力,在使得其平稳转动的同时,又延长了其使用寿命。
本实用新型中,滑块上开设有一螺纹孔且安装有与螺纹孔配合的紧固螺栓。基于以上改进,在调整完分切尺寸后,利用紧固螺栓将滑块与螺纹轴紧固在一起,防止其在分切时产生位置变动,极大的保证了分切精度。
本实用新型中,螺纹轴的一端设有转动把手。基于以上改进,设有的转动把手可方便的对螺纹轴进行转动。
本实用新型中,限位杆上设有刻度指针,且横板上方设有与刻度指针对应的刻度线。基于以上改进,设有的刻度指针与刻度线可在尺寸调整时提供依据,方便分切时进行尺寸调整,为精确分切提供了技术保证。
本实用新型中,第一辊架上设有与同步带配合的张紧轮。设有的张紧轮使得同步带与两定位辊之间的连接更加紧固,避免了因松动造成同步带打滑的现象。
本实用新型中,成品辊与余料辊的中心线有高度差。基于以上改进,使得隔膜分切完成后更方便的将分切的成品锂电池隔膜和余料锂电池隔膜取下。
综上所述,本实用新型结构简单,操作方便,分切效率跟分切精度较高,能够满足锂离子电池小批量生产中对电池隔膜的需求。
附图说明
为了更清楚地说明本实用新型具体实施方式或现有技术中的技术方案,下面将对具体实施方式或现有技术描述中所需要使用的附图作简单地介绍。在所有附图中,类似的元件或部分一般由类似的附图标记标识。附图中,各元件或部分并不一定按照实际的比例绘制。
图1为本实用新型的结构示意图;
图2为本实用新型的正视结构示意图;
图3为本实用新型的左视结构示意图;
图4为本实用新型分切装置的结构示意图;
图5为本实用新型分切装置的部分放大结构示意图。
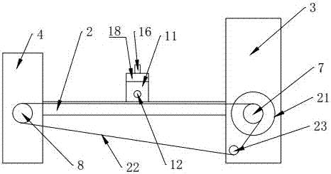
附图标记:1-支撑架;2-分切台;3-第一辊架;4-第二辊架;5-第三辊架; 6-放卷辊;7- 第一定位辊;8-第二定位辊;9-成品辊;10-余料辊;11-竖板;12-螺纹轴;13-滑块;14-刀片;15- 锁紧螺栓;16-限位杆;17-刻度指针;18-横板;19-刻度线;20-转动把手;21-电机;22-同步带;23-张紧轮。
具体实施方式
下面将结合附图对本实用新型技术方案的实施例进行详细的描述。以下实施例仅用于更加清楚地说明本实用新型的技术方案,因此只是作为示例,而不能以此来限制本实用新型的保护范围。
如图1、图2、图3、图4和图5所示,本实用新型提供了一种锂离子电池隔膜蘑菇视频无限观看国产甜美传媒,包括机架、电机21、同步带22和分切装置;机架包括支撑架1、辊架和分切台2;支撑架1上设有分切台2,分切台2上设有凹槽滑道,辊架包括第一辊架3、第一辊架4和第一辊架5;分切台2一端设有第一辊架3,另一端设有第一辊架4和第一辊架5;第一辊架3上部设有放卷辊6,第一辊架3下部设有第一定位辊7,第一定位辊7顶部与分切台2的台面位于同一高度;第一辊架4和第一辊架3于分切台2同侧设置,第一辊架4上设有第二定位辊8和成品辊9,第二定位辊8与分切台2的台面位于同一高度,成品辊9位于第二定位辊8下方;第一辊架5与第一辊架4于分切台2的横向中心线对称设置,第一辊架5上设有余料辊10;成品辊9与余料辊10的中心线有高度差,两定位辊与辊架的安装处设有轴承;电机21位于第一辊架3外侧且与第一定位辊7对应设置,第一辊架3上设有与同步带22配合的张紧轮23,同步带22连接第一定位辊7、张紧轮23和第二定位辊8;分切台2上设有分切装置,分切装置包括竖板11、螺纹轴12、滑块13、刀片14、限位杆16和横板18;竖板11有两块且分别于分切台2的横向中心线两侧对称设置,竖板11固定设置在分切台2上,螺纹轴12安装在两竖板11上且与分切台2平行设置,螺纹轴12与竖板11的安装处设有轴承且安装端设有与螺纹轴12连接的转动把手20,螺纹轴12上安装有滑块13,滑块13设有与螺纹轴12配合的螺纹,滑块13上开设有一螺纹孔且安装有与螺纹孔配合的紧固螺栓,滑块13下部设有刀片14,滑块13上部固定设有限位杆16,限位杆16上设有刻度指针17,横板18设置于两竖板11顶部,横板18上设有供限位杆16滑动的限位长槽,横板18上方设有与刻度指针17对应的刻度线19;
需要进行锂电池隔膜切割时,将需要切割的隔膜母卷放到放卷辊6上,将隔膜绕过第一定位辊7输送入分切台2上的凹槽滑道内,根据所需要的分切尺寸,一边转动转动把手20,一边观察限位杆16上的刻度指针17,限位杆16在横杆上的限位长槽内滑动,当限位杆16上的刻度指针17移动到所需的刻度线19位置时,位于滑块13下的刀片14便处于所需隔膜分切尺寸处,扭动锁紧螺栓15,将滑块13与螺纹轴12紧固;根据所需的分切速度选择电机21转速,开启电机21,使得电机21带动第一定位辊7转动,同步带22在张紧轮23的张紧下带动第二定位辊8以与第一定位辊7相同的转速转动,第一定位辊7和第二定位辊8由于摩擦力带动隔膜在分切台2上运动,隔膜经过刀片14时,将隔膜分切为成品隔膜和余料隔膜,且通过第二定位辊8分别收放到位于第一辊架4上的成品辊9和位于第一辊架5上的余料辊10上;当分切完成后,关停电机21,便可将位于成品辊9上的所需尺寸的锂离子电池隔膜取下使用,位于余料辊10上的余料隔膜取下以备后续使用。
最后应说明的是:以上各实施例仅用以说明本实用新型的技术方案,而非对其限制;尽管参照前述各实施例对本实用新型进行了详细的说明,本领域的普通技术人员应当理解:其依然可以对前述各实施例所记载的技术方案进行修改,或者对其中部分或者全部技术特征进行等同替换;而这些修改或者替换,并不使相应技术方案的本质脱离本实用新型各实施例技术方案的范围,其均应涵盖在本实用新型的权利要求和说明书的范围当中。
技术特征:
1.一种锂离子电池隔膜蘑菇视频无限观看国产甜美传媒,其特征在于:包括机架、电机、同步带和分切装置;
所述机架包括支撑架、辊架和分切台;所述支撑架上设置有所述分切台,所述辊架包括第一辊架、第二辊架和第三辊架;
所述分切台一端设有第一辊架,另一端设有第二辊架和第三辊架;所述第一辊架上部设有放卷辊,所述第一辊架下部设有第一定位辊,所述第一定位辊顶部与所述分切台的台面位于同一高度;所述第二辊架和所述第一辊架于所述分切台同侧设置,所述第二辊架上设有第二定位辊和成品辊,所述第二定位辊与所述分切台的台面位于同一高度,所述成品辊位于所述第二定位辊下方;所述第三辊架与所述第二辊架于所述分切台的横向中心线对称设置,所述第三辊架上设有余料辊;
所述电机位于所述第一辊架外侧且与所述第一定位辊对应设置,所述同步带连接所述第一定位辊和第二定位辊;
所述分切台上设有所述分切装置,所述分切装置包括竖板、螺纹轴、滑块、刀片、限位杆和横板;
所述竖板有两块且分别于所述分切台的横向中心线两侧对称设置,所述竖板固定设置在所述分切台上,所述螺纹轴安装在两所述竖板上且与所述分切台平行设置,所述螺纹轴上安装有滑块,所述滑块设有与所述螺纹轴配合的螺纹,所述滑块下部设有刀片,所述滑块上部固定设置有限位杆,所述横板设置于两所述竖板顶部,所述横板上设有供所述限位杆滑动的限位长槽。
2.根据权利要求1所述的一种锂离子电池隔膜蘑菇视频无限观看国产甜美传媒,其特征在于:所述分切台上设有凹槽滑道。
3.根据权利要求1所述的一种锂离子电池隔膜蘑菇视频无限观看国产甜美传媒,其特征在于:两所述定位辊与所述辊架安装处分别设有轴承。
4.根据权利要求1所述的一种锂离子电池隔膜蘑菇视频无限观看国产甜美传媒,其特征在于:所述螺纹轴与所述竖板安装处设有轴承。
5.根据权利要求1所述的一种锂离子电池隔膜蘑菇视频无限观看国产甜美传媒,其特征在于:所述滑块上开设有一螺纹孔且安装有与所述螺纹孔配合的紧固螺栓。
6.根据权利要求1所述的一种锂离子电池隔膜蘑菇视频无限观看国产甜美传媒,其特征在于:所述螺纹轴的一端设有转动把手。
7.根据权利要求1所述的一种锂离子电池隔膜蘑菇视频无限观看国产甜美传媒,其特征在于:所述限位杆上设有刻度指针。
8.根据权利要求7所述的一种锂离子电池隔膜蘑菇视频无限观看国产甜美传媒,其特征在于:所述横板上方设有与所述刻度指针对应的刻度线。
9.根据权利要求1所述的一种锂离子电池隔膜蘑菇视频无限观看国产甜美传媒,其特征在于:所述第一辊架上设有与所述同步带配合的张紧轮。
10.根据权利要求1所述的一种锂离子电池隔膜蘑菇视频无限观看国产甜美传媒,其特征在于:所述成品辊与所述余料辊的中心线有高度差。
技术总结
一种锂离子电池隔膜蘑菇视频无限观看国产甜美传媒,涉及锂离子电池制造技术领域,包括:机架、电机、同步带和分切装置;机架包括支撑架、辊架和分切台,辊架包括第一辊架、第二辊架和第三辊架;第一辊架上部设有放卷辊且下部设有第一定位辊,第二辊架上设有第二定位辊和成品辊,第三辊架上设有余料辊;电机通过同步带连接两定位辊;分切台上设有分切装置,分切装置包括竖板、螺纹轴、滑块、刀片、限位杆和横板,螺纹轴安装在两竖板上且其上安装有滑块,滑块下部设有刀片且上部连接有限位杆,横板设置于两竖板顶部且其上开设有限位长槽。本实用新型结构简单,使用方便,且分切效率跟分切精度较高,能够满足锂离子电池小批量生产中对电池隔膜的需求。
技术研发人员:罗年生
受保护的技术使用者:衡阳市鑫晟新能源有限公司
文档号码:201621358218
技术研发日:2016.12.12
技术公布日:2017.09.26